Estructura principal de la plegadora

Apr 24, 2025

1.Introducción a la estructura mecánica:

La máquina de doblado hidráulica está compuesta principalmente por una cama, un deslizador, un tope trasero, un sistema hidráulico, un molde, un bastidor de soporte, un dispositivo de protección de seguridad, un sistema eléctrico, etc.

2.Conexión mecánica

(1) El deslizador superior está conectado a la varilla del pistón en los dos conjuntos de cilindros y se apoya en los paneles de la pared izquierda y derecha a través de la placa inferior del cilindro. Hay rieles guía izquierdos y derechos para proporcionar guía al deslizador para moverse hacia arriba y hacia abajo. Hay una almohadilla esférica en la conexión entre la varilla del pistón y el deslizador para asegurar que la fuerza en la viga se distribuya razonablemente y que la varilla del pistón esté bien alineada.

(2) Según las diferentes formas de la máquina principal, la viga inferior (mesa de trabajo) de la máquina de doblado producida según los requisitos del cliente tiene dos formas. Una es de tipo viga única fijada con tornillos; la otra es de tipo tres vigas con un cilindro de compensación. Se proporcionan almohadillas ajustables en ambos lados para corregir las almohadillas y la superficie de ajuste del cuerpo, y la precisión de corrección se puede ajustar.

(3) Para garantizar la operación sincrónica de los cilindros izquierdo y derecho, la máquina herramienta adopta un brazo oscilante y una biela de eje de torsión sincrónico.

3.Parte del deslizador

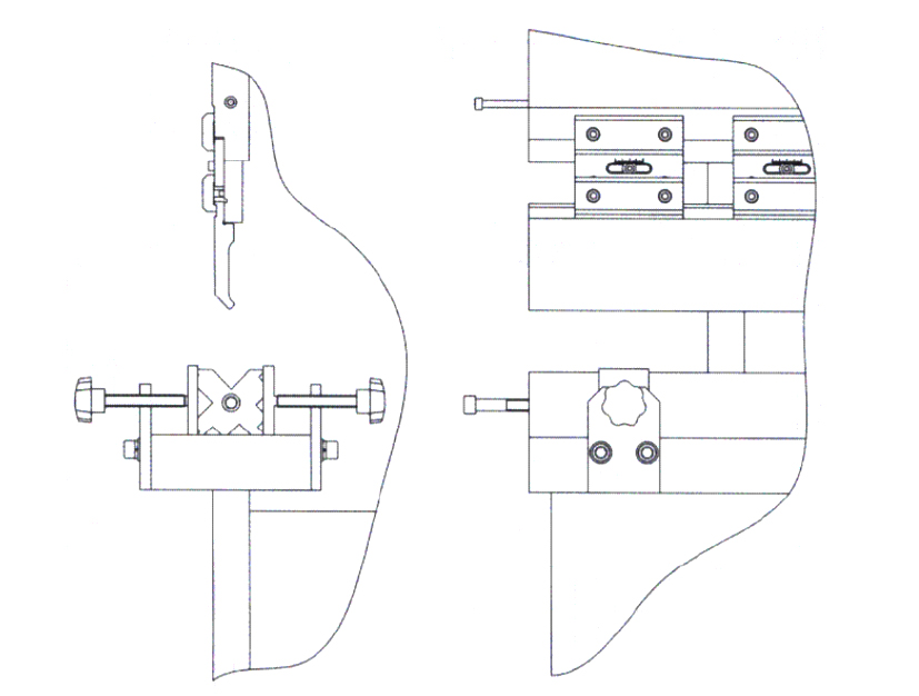
La parte del deslizador consiste en un deslizador, un cilindro y una estructura de ajuste fino del tope mecánico. Los cilindros izquierdo y derecho están fijados en el marco, y el pistón (varilla) impulsa el deslizador hacia arriba y hacia abajo a través de la presión hidráulica.

El tope mecánico se coloca dentro de los dos cilindros, con una estructura compacta y ajuste sincrónico en ambos lados. El diagrama esquemático es el siguiente. Cuando el deslizador (superior) no es igual a izquierda y derecha, detenga el deslizador en el punto muerto superior, retire el pasador de posicionamiento en la manga de acoplamiento, gire el gusano en cualquier lado de la caja de engranajes de gusano en los cilindros izquierdo y derecho (hacia adelante o hacia atrás), y luego presione el deslizador hasta el punto muerto inferior, mida y ajuste (repita la operación anterior) hasta que el deslizador (molde superior) sea igual a izquierda y derecha, y finalmente posicione e instálelo en la manga de acoplamiento.

4.Marco

El marco está soldado en un marco integral por columnas izquierda y derecha, tanques de aceite y bloques de soporte, y la mesa de trabajo está sujetada a la parte inferior de las columnas izquierda y derecha.

5.Mecanismo sincrónico

El mecanismo de sincronización forzada mecánica compuesto por un eje de torsión y un brazo oscilante tiene una estructura simple, un rendimiento estable y una alta precisión de sincronización.

6.Dispositivo de bastidor de soporte frontal

El dispositivo de soporte frontal se utiliza para soportar y sostener la pieza de trabajo.

7.Tope trasero

El tope trasero es un componente valioso de la máquina herramienta y juega un papel importante en el trabajo real de doblado. A continuación se presenta alguna descripción del tope trasero: Se opera mediante el botón en el panel de operación para hacer que el motor impulse el marco del tope trasero a moverse hacia adelante y hacia atrás.

8.Molde de Prensa de Doblado

(1) El molde superior está instalado en el deslizador y fijado con una placa de conexión y una placa de presión. El molde superior está equipado con un mecanismo de ajuste fino, que se mueve oblicuamente hacia la izquierda y la derecha y se utiliza para el ajuste fino de compensación superior e inferior del molde superior para garantizar la precisión de la pieza de trabajo doblada.

El molde inferior está instalado en la mesa de trabajo. El mango giratorio puede empujar el molde inferior para moverse hacia adelante y hacia atrás para alinear el centro de la cuchilla del molde superior.

(2) Instalación del molde

  1. La instalación y remoción del molde debe ser completada por profesionales capacitados y autorizados y seguir estrictamente los requisitos de las especificaciones eléctricas.
  2. Ajuste el deslizador a la posición apropiada del punto muerto superior de acuerdo con la altura del molde seleccionado.
  3. Al instalar el molde, se debe apagar la bomba de aceite y no se debe encender la máquina herramienta.
  4. Elimine impurezas, rebabas y rebabas del molde y de la superficie de instalación del molde.
  5. Instale primero el molde superior, luego el molde inferior.
  6. Después de instalar el molde, preste atención a apretar los tornillos.
  7. Después de instalar la máquina herramienta, encienda la bomba de aceite para mover el deslizador hacia abajo y controlarlo en la posición adecuada requerida. Verifique si los moldes superior e inferior están alineados, es decir, si los espacios en ambos lados del molde superior son iguales en la ranura en V. Si no es así, ajuste el molde inferior y fije el molde inferior para devolver la máquina herramienta al punto muerto superior. (Nota: Mantenga el espacio entre los moldes superior e inferior mayor que el grosor de la placa que se va a doblar).
  8. Ajuste la cuña inclinada para que la superficie inferior del molde superior pueda ajustarse para obtener el error de ángulo de flexión mínimo sobre toda la longitud de flexión. Para obtener un buen efecto de flexión, la cuña inclinada puede reajustarse según el resultado real de flexión de la pieza de prueba. Si el ángulo de flexión real en este punto es demasiado grande durante el ajuste, la superficie inferior del molde en este punto debe ajustarse hacia abajo, es decir, aflojar el tornillo de sujeción y mover la cuña hacia la izquierda. Después del ajuste, apriete el tornillo. De lo contrario, ajuste la superficie inferior del molde hacia arriba, es decir, mueva la cuña hacia la derecha.

(3) Aspectos a tener en cuenta al usar el molde:

  1. Revise regularmente los tornillos de fijación del molde
  2. Tenga cuidado al reemplazar el molde, y coloque el molde suavemente en el marco del molde al lado de la máquina herramienta para evitar daños.
  3. Cada molde tiene su capacidad máxima de carga, y no se permite que se sobrecargue y doble.
  4. Cuando no se use durante mucho tiempo o se detenga, el molde superior debe bajarse en la ranura en V del molde inferior, en contacto con el molde inferior o sobre una placa plana.
  5. Cuando el molde no esté en uso, para proteger la cuchilla del molde, el molde se puede colocar sobre una tabla de madera o piel de goma, y la superficie del molde se puede engrasar.

(4) Las siguientes piezas de trabajo se pueden doblar

Cómo calibrar los centros de los moldes superior e inferior de una plegadora
¿Cómo mejoran los controles digitales las plegadoras?