Tres tamaños límite de doblado

May 10, 2025

1.El tamaño mínimo del estante c del doblado de láminas está relacionado con el grosor de la lámina.

  1. El tamaño del estante c para láminas de 1mm~3mm de grosor es de 3mm.
  2. El tamaño del estante c para láminas de grosor mayor a 3mm es igual al grosor de la lámina.

2.La relación entre el tamaño mínimo límite del doblado de borde de regla angular a min (ver Figura 2) y el grosor de la lámina, el radio de doblado y el tamaño del estante se muestra en la tabla.

Tamaño mínimo límite del doblado de borde cuadrado angular.

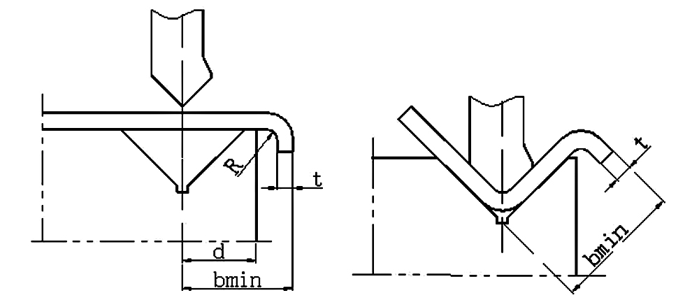
3.Tamaño mínimo límite del doblado de borde exterior.

  1. La dimensión mínima d desde el centro de la ranura del troquel hasta el exterior del troquel.
  2. La dimensión mínima límite b min desde la línea central de la ranura del troquel de doblado segundo hasta el exterior del borde recto de la placa.

Dimensión mínima desde el centro de la ranura del molde hasta el exterior del molde.

4.El tamaño máximo límite del borde de alabeo interior se muestra en la Figura 4.

El tamaño máximo límite de ajuste del lado b y el lado a está determinado por diferentes moldes de corte superior, ver el tamaño de referencia en la figura a continuación.

5.El tamaño máximo límite del alabeo interior del borde frontal del filo superior se muestra en la Figura 5. El tamaño máximo límite de ajuste del lado b y el lado a se determina según diferentes moldes de filo superior.

Fallas comunes y soluciones de las máquinas de corte por láser
Cómo mejorar la precisión de curvado de la plegadora